U.S. flag

An official website of the United States government

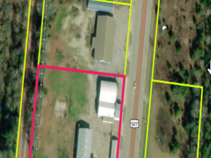
Commercial Property with Potential!

Asset Details

Image Gallery
Asset Description

7,743 sq. ft. commercial building situated on 2.09 acres more commonly known as 5688 Carolina Hwy., Denmark, SC  29042. 

Parcel No. 0038-07-03-001 

Asset Address
5688 Carolina Highway
Denmark, 29042 SC
United States
Driving Directions and Geolocation

Firearms Prohibited

Members of the public attending the auction are prohibited from carrying/possessing a firearm(s) at the auction, even if carrying/possessing a firearm(s) is otherwise permitted under state or local law. The term “firearm” means any weapon (including a starter gun) which will or is designed to or may readily be converted to expel a projectile by the action of an explosive.

Asset Info

Date of Auction
Notice Information
NOTICE OF JUDICIAL SALE

Pursuant to an Amended Order of Sale entered in United States of America vs. Thomas W. Bacon, SR, et al., Civil Action No. 3:22-cv-3744, In The United States District Court for the District of South Carolina Columbia Division. the United States will offer for sale at public auction, to the highest bidder, according to law and pursuant to the terms and conditions set in herein, the property described below:

Date: August 20, 2025
Time: 11:00 AM (Registration to begin at 10:30)

Sale Location: The sale of the Property shall be by public auction at 1810 Hale Ave., (Outside, rear parking lot) Harlingen, Texas 78550 or under mail-in bids.

Title Offered: The property shall be offered for sale at public auction, free and clear of all liens and interests of the parties to this action.

Description of Property: 7,743 sq.ft. commercial building situated on 2.09 acres more commonly known as 5688 Carolina Hwy., Denmark, SC 29042.
Parcel No. 0038-07-03-001

Property May Be Inspected at: Via Drive-By at Any Time

Minimum Bid: $75,000

Information about the Sale Contact Property Appraisal & Liquidation Specialist Rocio Gonzalez @ 956-458-2457

Form of Payment: All payments must be by Certified or Cashier’s Check made payable to the United States District Court for the District of South Carolina.

TERMS AND CONDITIONS OF SALE:
No bid (except for bids made by the United States) shall be accepted by the IRS, unless the same is accompanied by a certified check or cashier’s check, in the minimum amount of $15,000 (20% of minimum bid) made payable to the United States District Court for the District of South Carolina. Before being permitted to bid at the sale, all bidders shall display to the IRS proof that they are able to comply with this requirement. No bids will be received from any person who has not presented proof that, if he or she is the successful bidder, he or she can make the deposit required by the Order. If the sale is conducted via mail-in bid, all bids are to be received by PALS no later than 11:00 a.m., on the day of the Sale.

The successful bidder shall tender the balance of the purchase price, in certified funds payable to the clerk of the United States District Court for the District of South Carolina, at the office of the IRS on or before 2:30 P.M., within forty-five (45) days following the date of the sale, October 6, 2025.

In the event the successful bidder defaults on any of the terms contained in the Order, the deposit shall be forfeited and retained by the IRS as part of the proceeds of sale, and the real property shall again be offered for sale, without further permission of the Court, under the terms and conditions of the Order, or, in the alternative the real property shall be sold to the second highest bidder.

The United States may bid as a creditor against its judgments without tender of cash.

The sale of the property shall be subject to confirmation by the Court. Upon confirmation of the sale and receipt of the entire purchase price, the Court shall issue and the IRS shall deliver to the purchaser, a deed conveying the real property to the purchaser. Upon confirmation of the sale, all interests in, liens against, or claims to, the real property that are or may be asserted by any of the parties to this action are discharged and extinguished.

The United States reserves the right to reject any and all bids and to withdraw the property from sale. The sale shall be subject to building lines if established, all laws, ordinances, and governmental regulation (including building and zoning ordinances), affecting the premises, and easements and restrictions of record, if any. There is no right to redeem the property after the judicial sale.




The property is offered for sale "where is" and "as is" and without recourse against the United States. The United States makes no guaranty or warranty of the condition of the property, or its fitness for any purpose. The United States will not consider any claim for allowance or adjustment or for the rescission of the sale based on failure of the property to comply with any expressed or implied representation.

***************************IMPORTANT INFORMATION****************************

This is not an advertisement of a sale of administratively seized property. This is an information notice only regarding a sale being conducted by the Internal Revenue Service as a result of the foreclosure of an Internal Revenue Service Federal Tax Lien by the Department of Justice.

Date of Auction
Bidder Registration Time
Minimum Bid
75,000.00
Mail-in Bid Form
Sale Location
Internal Revenue Service
1810 Hale Avenue
Outside, rear parking lot
Harlingen, 78550 TX
United States
Driving Directions and Geolocation
Order of Sale
Terms of Sale
The property is offered for sale “as is” and “where is” and without recourse against the United States. The United States makes no guarantee of condition of the property, or its fitness for any purpose. The United States will not consider any claim for allowance or adjustment or for the rescission of the sale based on failure of the property to comply with any expressed or implied representation.
Form of Payment
All payments must be by cash, a certified, cashier’s, or treasurer’s check drawn on any bank or trust company incorporated under the laws of the United States or under the laws of any State, Territory, or possession of the United States, or by a United States postal, bank, or express money order. Make check or money order payable to the United States District Court for the District of South Carolina.
The Terms of Payment
$15,000 (20% of minimum bid) made payable to the United States District Court for the District of South Carolina, due after acceptance of successful bid.
The successful bidder shall tender the balance of the purchase price, in certified funds payable to the clerk of the United States District Court for the District of South Carolina, at the office of the IRS on or before 2:30 P.M., within forty-five (45) days following the date of the sale, October 6, 2025.
Contact Information

Rocio Gonzalez
Internal Revenue Service
1810 Hale Avenue
Harlingen, TX 78550
United States

Contact Phone Number
956-458-2457

Additional Details

Disclaimer
This is an information notice only regarding a sale being conducted by the Internal Revenue Service.
Title Offered
The property shall be offered for sale at public auction, free and clear of all liens and interests of the parties to this action.
Property May Be Inspected at
Drive-By Only